Ярославль
Наши контакты
Вернуться назад

Ярославль
Наши контакты
Вернуться назад
+7 (495) 108-51-79

Адрес офиса: Республиканская улица, 3к1

График приёма звонков: Ежедневно 08.00 до 21.00

График работы: Ежедневно с 06:00 до 23:00

+7 (495) 108-51-79
Оставьте заявку на
Плита перекрытия П 59-12-10 АIV с-8
Получите скидку 30%

на доставку
Более 15 лет на рынке ЖБИ
В наличии более 700 плит
Собственный автопарк доставки
Производим от 100 плит в день
За сегодня (23 апреля 2026) мы отгрузили 59 ед. ЖБИ
Ваша заявка успешно отправлена! Наш специалист свяжется с Вами в течение нескольких минут
Каталог

Плита перекрытия П 59-12-10 АIV с-8

В наличии: 251 шт
Производим: от 150 плит в день
Работаем по постоплате
Цена за:
9 225 руб.
msk@velesark.ru Отправить запрос на почту

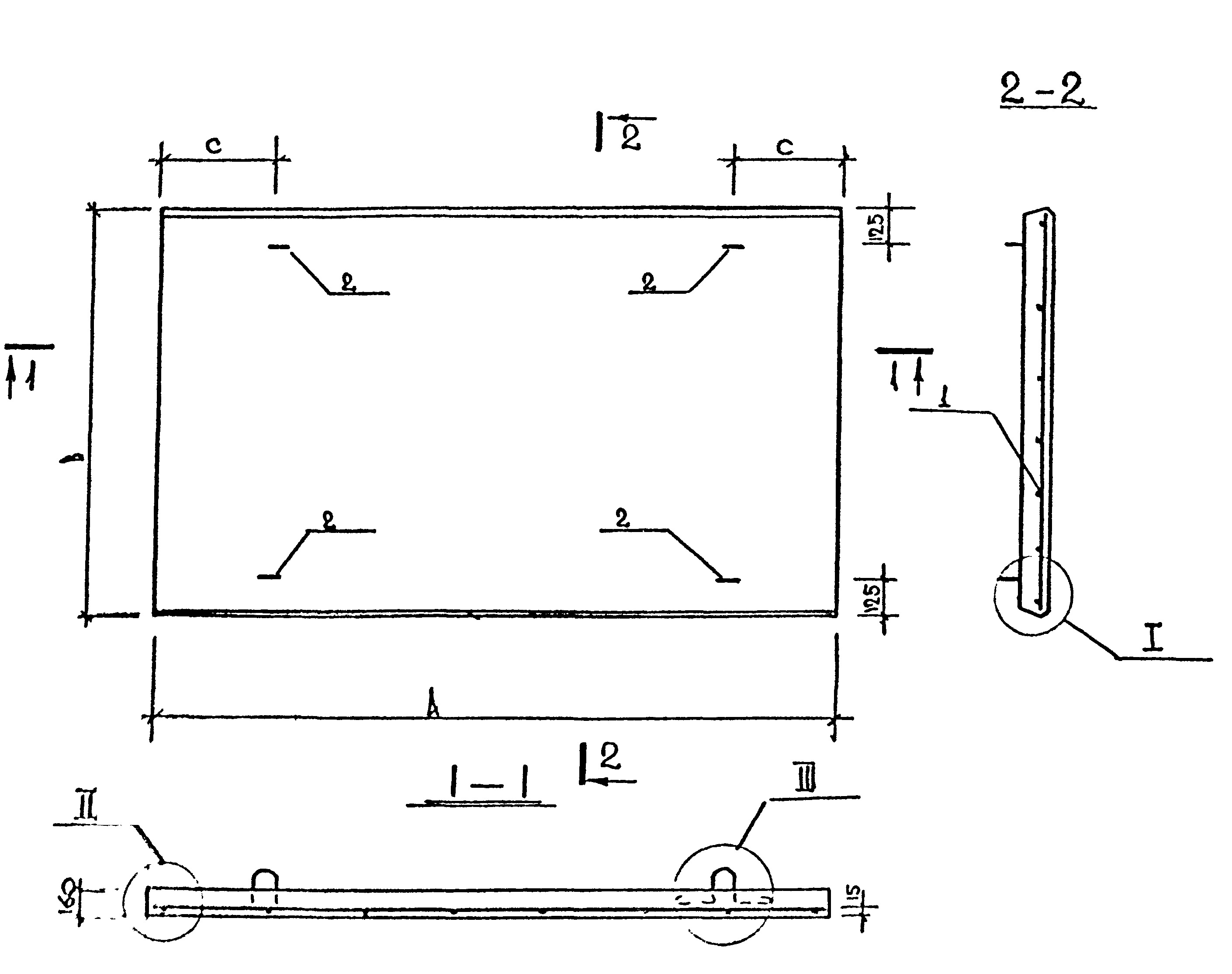
Плита перекрытия П 59-12-10 АIVт с-8 представляет собой сплошную железобетонную конструкцию, предназначенную для использования в строительстве зданий и сооружений. Она имеет размеры 5900x1200x100 мм и класс бетона В 30. Плита обладает высокой прочностью и устойчивостью к различным нагрузкам, что делает ее идеальным выбором для перекрытия помещений различного назначения.

Плита перекрытия П 59-12-10 АIVт с-8 широко используется в строительстве жилых домов, офисных зданий, торговых центров, промышленных объектов и других сооружений. Она применяется для создания жесткой и надежной конструкции перекрытия, способной выдерживать значительные нагрузки и обеспечивать безопасность и комфорт в помещениях. Плиты перекрытия также могут использоваться в реконструкции зданий и при возведении новых строений.

5860
Серия 1.243.1
Плиты перекрытия П
П 59-12-10 АIVт с-8
П АIVт с-8
3.78
1.51
1.51
5860x1190x220
1190
ГОСТ
шт.
220
Способ доставки
Длина груза, максимум
Стоимость доставки
Машина до 3,5 тн до 30 м3
6
от 2 100 руб
Машина до 5 тн до 30 м3
6
от 2 500 руб
Машина до 10 тн до 50 м3
8
от 4 200 руб
Машина до 20 тн до 80 м3
8
от 8 600 руб
Манипулятор до 5 тн
5
от 3 700 руб
Манипулятор до 10 тн
10
от 4 600 руб
Манипулятор до 15 тн
14
от 6 900 руб
аватар
Иван

14.01.2024

★★★★★
Брал плиты перекрытия для строительства дома. Все идеально ровное, без трещин, размеры точные. Доставили аккуратно, водитель вежливый. Остался доволен.
Читать полностью
аватар
Алексей

06.02.2024

★★★★★
Заказывал фундаментные блоки ФБС. Качество хорошее, углы не сколоты, бетон прочный. Привезли быстро, цена нормальная.
Читать полностью
аватар
Виктор

18.03.2024

★★★★
Купил кольца для колодца, сами по себе хорошие, но заезд на склад оказался неудобным, пришлось разворачиваться в узком проезде. По качеству претензий нет.
Читать полностью
аватар
Дмитрий

10.04.2024

★★★★★
Заказывал бордюры для благоустройства территории. Все одинаковые по размеру, без дефектов, кладутся ровно. Доставили вовремя.
Читать полностью
аватар
Николай

13.05.2024

★★★★★
Брал лестничные марши для подъездов. Сделаны надежно, стыки ровные, армирование видно. Грузили аккуратно, вопросов нет.
Читать полностью
аватар
Андрей

19.06.2024

★★★★
Перемычки нормальные, ровные, но доставка немного задержалась из-за поломки машины. Позвонили, предупредили, в итоге привезли через несколько часов.
Читать полностью
аватар
Михаил

03.07.2024

★★★★★
Покупал сваи для забора. Качество понравилось, все ровные, без сколов. Доставили на следующий день, грузчик помог выгрузить.
Читать полностью
аватар
Олег

22.07.2024

★★★
Цена на сайте оказалась немного дороже, чем по факту, но все равно дешевле, чем у других. Брал водоотводные лотки, бетон крепкий, по качеству все устроило.
Читать полностью

Оставьте заявку на сейчас
и получите скидку 30% на доставку

Оплата наличными
Банковские карты
Оплата безналом
Оставьте свои контакты ниже, и наш специалист свяжется с Вами в течение 15 минут
Ваша заявка успешно отправлена! Наш специалист свяжется с Вами в течение нескольких минут
Описание товара Доставка и оплата Отзывы

Плита перекрытия П 59-12-10 АIVт с-8 представляет собой сплошную железобетонную конструкцию, предназначенную для использования в строительстве зданий и сооружений. Она имеет размеры 5900x1200x100 мм и класс бетона В 30. Плита обладает высокой прочностью и устойчивостью к различным нагрузкам, что делает ее идеальным выбором для перекрытия помещений различного назначения.

Плита перекрытия П 59-12-10 АIVт с-8 широко используется в строительстве жилых домов, офисных зданий, торговых центров, промышленных объектов и других сооружений. Она применяется для создания жесткой и надежной конструкции перекрытия, способной выдерживать значительные нагрузки и обеспечивать безопасность и комфорт в помещениях. Плиты перекрытия также могут использоваться в реконструкции зданий и при возведении новых строений.

Доставка и оплата

Оплата наличными
Оплата в офисе. Возможность передать денежные средства водителю. Операции для коммерческих компаний и частных лиц.
Банковские карты
Оплата производится с помощью банковских карт Visa,MasterCard и других, так же мы работаем с НДС - безналичный расчет для юридических лиц.
Оплата безналом
Платеж можно провести на расчетный счет нашей компании или с помощью платежных, онлайн систем, любой удобной вам валютой.

Мы производим доставку по Ярославлю и Ярославской области в короткие сроки. Так же осуществляем перевозку своим автотранспортом в любое удобное время дня и ночи.



Способы заказа и доставка

Оставляете заявку одним из 3-х способов:
  • Позвонив по тел.: +7 (495) 108-51-79
  • Оставив заявку через форму на сайте
  • Написав на почту msk@velesark.ru с указанием продукции, объёма, адреса доставки и удобного времени доставки
Обратная связь
Если вы оставили заявку по специальной форме или по почте, то наш менеджер перезванивает вам для подтверждения заявки.
Получаете заказ в назначеное время
Ваш заказ прибудет точно в срок. Без задержек и форс-мажоров.

Отзывы

ХОТИТЕ ОСТАВИТЬ ОТЗЫВ О НАШЕЙ Работе или помочь стать лучше? напишите нам

Расскажите ниже поподробнее, чем вам помогла наша компания или чтобы Вы хотели изменить. Мнение каждого клиента ценно для нас

Ваша отзыв успешно отправлен! Отзыв будет опубликован после прохождения модерации
Уже около 5 лет постоянно работаем с Велесарк, поэтому по качеству сомнений не было.
Мы – солидная строительная компания и предпочитаем работать с постоянными поставщиками ЖБИ. В сентябре 2019 года сделали заказ ребристых плит перекрытия. ЖБИ использовали при строительстве производственного двухпролетного здания в СПб. Уже около 5 лет постоянно работаем с Велесарк, поэтому по качеству сомнений не было. Выражаем благодарность и надеемся на плодотворное сотрудничество.
Раньше в этой компании я покупал материалы для стройки, сейчас понадобились плиты перекрытия, получается они предоставили практически все, что нужно для дома.
Компания Велесарк продала мне плиты перекрытия с пустотами для строительства дома. Заказ сделан в начале лета, выполнен вовремя. Раньше в этой же компании я покупал другие материалы для стройки. Так что получается, они предоставили практически все, что нужно для моего дома.
Приобрели в Велесарк партию дорожных плит для расширения открытой парковки в районе Московского шоссе, мы расширились и благодарим партнеров за сотрудничество.
В июне 2019 года приобрели в Велесарк партию дорожных плит для расширения открытой парковки в районе Московского шоссе. К настоящему моменту объект сдан в эксплуатацию. Мы расширились и благодарим партнеров за сотрудничество.
Наша строительная компания приобрела несколько партий дорожных плит 1П30 у компании Велесарк, качеством довольны.
Выполняя ремонтно-строительные работы под Волховом, наша строительная компания приобрела несколько партий дорожных плит 1П30 у компании Велесарк. Плиты использованы для строительства автодороги на одном из местных промышленных предприятий с движением тяжелой техники. Закупка была выполнена во II квартале 2018 года.
Компания выполнила заказ в короткие сроки, а поставщик взял на себя также и услуги по доставке изделий в Кировск.
Сообщаем об опыте закупки дорожных плит у Велесарк. Предыстория. При строительстве складской площадки проектировщики решили не обустраивать промышленные полы. Более выгодным вариантом стала укладка дорожных плит между колоннами пролетов. Так как это уже не первый наш проект в Ленобласти, то связались с постоянным поставщиком ЖБИ. В итоге компания выполнила заказ в короткие сроки за счет складских запасов плит. Поставщик взял на себя также и услуги по доставке изделий в Кировск.
Компания показалась мне надежной, что в дальнейшем оказалось правдой.
Плиты перекрытия для строительства коттеджа я купил в Велесарк. Компания показалась мне надежной, что в дальнейшем оказалось правдой. По ценам на ЖБИ также все устроило. Связался с менеджером Алексеем, договорились по оплате и доставке. Приехал на участок и буквально в течение получаса подвезли плиты, хотя я думал, что будет задержка. Разгрузили собственным краном, оплату приняли на месте. Оперативностью доволен.
Компания показалась мне надежной, что в дальнейшем оказалось правдой.
Плиты перекрытия для строительства коттеджа я купил в Велесарк. Компания показалась мне надежной, что в дальнейшем оказалось правдой. По ценам на ЖБИ также все устроило. Связался с менеджером Алексеем, договорились по оплате и доставке. Приехал на участок и буквально в течение получаса подвезли плиты, хотя я думал, что будет задержка. Разгрузили собственным краном, оплату приняли на месте. Оперативностью доволен.
Уже около 5 лет постоянно работаем с Велесарк, поэтому по качеству сомнений не было.
Мы – солидная строительная компания и предпочитаем работать с постоянными поставщиками ЖБИ. В сентябре 2019 года сделали заказ ребристых плит перекрытия. ЖБИ использовали при строительстве производственного двухпролетного здания в СПб. Уже около 5 лет постоянно работаем с Велесарк, поэтому по качеству сомнений не было. Выражаем благодарность и надеемся на плодотворное сотрудничество.
Раньше в этой компании я покупал материалы для стройки, сейчас понадобились плиты перекрытия, получается они предоставили практически все, что нужно для дома.
Компания Велесарк продала мне плиты перекрытия с пустотами для строительства дома. Заказ сделан в начале лета, выполнен вовремя. Раньше в этой же компании я покупал другие материалы для стройки. Так что получается, они предоставили практически все, что нужно для моего дома.
Закупку изделий произвели в компании Велесарк – нашего давнего поставщика, как всегда, качеством и доставкой довольны.
Мы предоставляем услуги по обустройству автодорог. В 2019 году наша компания расширила парк спецтехники и была вынуждена обустроить дополнительную площадку под крытую стоянку. Работы по обустройству стоянки выполнили своими силами, так как это наш профиль. Из соображений скорости и надежности при высоких нагрузках выбрали вариант укладки аэродромных плит. Закупку изделий произвели в компании Велесарк – нашего давнего поставщика, у которого уже несколько лет постоянно покупаем дорожные плиты, водоотводные лотки и другие ЖБИ для дорожного строительства. Как всегда, качеством и доставкой довольны.

Посмотрите, как выглядит наш офис

Видеообращение генерального директора

Вопросы и ответы

Где расположены Ваши заводы?

Наши заводы расположены в Долгопрудном, Подольске, Раменском, Петрово-Дальнем

Если мне нужна доставка далеко от города. Это значит что цена будет высокая из-за доставки?

Нет, мы работаем с заводами-партнерами, которые предоставляют нам скидки. Поэтому цена ЖБИ для вас останется такой же, как с нашего завода, но вы сильно сэкономите на доставке.

Какие документы Вы предоставляете?

Мы предоставляем все необходимые документы: ТТН, паспорт качества, все сертификаты на входящую продукцию.

Как быстро Вы доставите ЖБИ?

Мы работаем под заказ. Можем привезти заказ на следующий день, если товар есть в наличии.

Какими машинами Вы осуществляете поставки ЖБИ?

В нашем автопарке ГАЗели, шаланды и манипуляторы.

Какой режим работы у завода?

Мы работаем ежедневно с 6.00 до 23.00. При выполнении особых заказов работаем круглосуточно.

Вы предоставляете скидки?

Да, мы предоставляем скидки постоянным клиентам до 10% на ЖБИ.

Вы работаете с НДС?

Да, конечно, мы работаем на общей системе налогообложения.

Лицензии и сертификаты

История создания компании уходит корнями в 2003 год. В 2010-м году был произведен ребрединг и компания переименовалась в «ВелесАрк». На данный момент компания владеет 3-мя бетонными заводами и автопарком техники более 75 единиц. Мы работаем 24 часа 7 дней в неделю. Поставили бетон и нерудные материалы более чем на 10 тыс. объектов

Наше портфолио

Каталог Контакты Доставка Позвонить Корзина